View Poll Results: Am I a Genius or an Idiot?
Genius



26
65.00%
Idiot



14
35.00%
Voters: 40. You may not vote on this poll
I just bought a JDM skyroof! (I think)
Just got off the phone with the first Webasto dealer, he said he called Webasto corporate, gave them the part #s from the pic, and they told him it was a Honda OEM part. They said because it's Honda oem, they can't release the install directions to a dealer. They would not confirm or deny that the roof structure is different on a skyroof model. Starting to sweat a little bit...
Just got off the phone with the first Webasto dealer, he said he called Webasto corporate, gave them the part #s from the pic, and they told him it was a Honda OEM part. They said because it's Honda oem, they can't release the install directions to a dealer. They would not confirm or deny that the roof structure is different on a skyroof model. Starting to sweat a little bit...
Since I saw the JDM models with the skyroof, I've always wanted one. If you make this work, you'll be the only USDM I know of with it... until I copy you.

Let us know how it goes!
Check out post #27 from JDM_DOHC_SiR, it shows the diagrams of a few different glass roofs on the JDM Fit and some braces that needs to be installed and replaced to regain structural integrity of the car.
https://www.fitfreak.net/forums/2nd-...-thread-2.html
https://www.fitfreak.net/forums/2nd-...-thread-2.html
Last edited by Choro-Q_Fit; Apr 23, 2012 at 07:22 PM.
Big thank you to Choro for digging this up, and JDM_DOHC_SiR for the original work.
Wow. Ok deep breaths....
I had myself a good little cry.
Now, moving on. Looks like I need a new roof! Can someone more smarty than I explain to me what we're seeing in all these pictures?
1) I'm pretty confident I have all the sunroof hardware, but what else would I need other than the roof panel with the hole in it? (#2 in the last picture)
2) what is the part number for the roof, and can anyone help me find one?
EDIT: #7 in first picture is the roof, I need that, not #2 in the last picture
I had myself a good little cry.
Now, moving on. Looks like I need a new roof! Can someone more smarty than I explain to me what we're seeing in all these pictures?
1) I'm pretty confident I have all the sunroof hardware, but what else would I need other than the roof panel with the hole in it? (#2 in the last picture)
2) what is the part number for the roof, and can anyone help me find one?
EDIT: #7 in first picture is the roof, I need that, not #2 in the last picture
Last edited by Gaujo; Apr 24, 2012 at 01:04 AM.
Big thank you to Choro for digging this up, and JDM_DOHC_SiR for the original work.
Wow. Ok deep breaths....
I had myself a good little cry.
Now, moving on. Looks like I need a new roof! Can someone more smarty than I explain to me what we're seeing in all these pictures?
1) I'm pretty confident I have all the sunroof hardware, but what else would I need other than the roof panel with the hole in it? (#2 in the last picture)
2) what is the part number for the roof, and can anyone help me find one?
Wow. Ok deep breaths....
I had myself a good little cry.
Now, moving on. Looks like I need a new roof! Can someone more smarty than I explain to me what we're seeing in all these pictures?
1) I'm pretty confident I have all the sunroof hardware, but what else would I need other than the roof panel with the hole in it? (#2 in the last picture)
2) what is the part number for the roof, and can anyone help me find one?
The second, third, and fourth pictures look to be the skyroof assembly (your ebay purchase). Second looks like the biggest piece of the webasto assembly. #10 appears to be a gasket for the glass. Third, obviously #2 is the glass. Fourth appears to be showing the sunshade for the skyroof, looks like it is three parts that work in a telescopic fashion.
Fifth or bottom picture shows two potential headliner boards. #2 is the headliner board you can use for a nice clean OEM look. Most aftermarket sunroof installs use a technique called "floating headliner" where they cut the existing headliner to make room for the sunroof and its moving parts then simply pull the excess cloth tight around the assembly, contact cement the cloth to the assembly, and stuff the voids with foam. As someone with an aftermarket sunroof, I hate the floating headliner and plan to be fabricating a custom fiberglass headliner in the near future. Granted, my sunroof takes up a third of the roof this skyroof will take up and a floating headliner may be an easy and clean alternative with less material "floating." Not to mention, shipping a headliner is expensive and it may be more affordable to fabricate or float a headliner.
I don´t know if this helps at all, but i posted some photos and a (bad quality) video of a factory installed skyroof in another thread where you can at least see how it looks like in reality. Looking at it daily makes me think that installing something like that might be very very tricky.
https://www.fitfreak.net/forums/fit-...ml#post1093440
https://www.fitfreak.net/forums/fit-...ml#post1093440
Wow, this is ambitious. Without know what is involved with a project like this, you have one chance to get it right. What if you find yourself a shell at the junk yard? Practise on it to get the exact measurements and know what you are dealing with once you start cutting. Kinda hard to sell a car with a big hole on the roof.
Final Checklist
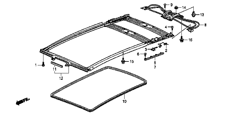
I'm trying to complete the parts list of what I'll need to do a factory install, and I'm trying to make sure I get all the little bits in. Building on Stark's suggestions above, and I'm trying to figure out if I need these pieces, which look like gaskets. Here is my final parts list, please advise if you think it's correct.
Picture #1 (b_49_20)

#7, roof panel
Picture #2 (b_38_10)

#5 , Gasket? I cannot tell if this is on my sunroof or not.
#10, Gasket? I cannot tell if this is on my sunroof or not.
#11, Gasket? I cannot tell if this is on my sunroof or not.
Picture #3 (b_52_20)

#1, Gasket? I cannot tell if this is on my sunroof or not.
#3, Gasket? I cannot tell if this is on my sunroof or not.
#4, Gasket? I cannot tell if this is on my sunroof or not.
#5, ? no idea what this is
Picture #4 (b_38_20)

I think I have all of this.
Picture #5 (b_38)

#2 is the headliner, but it is quite expensive. I am planning to float it per Stark's suggestion.
Can I get some feedback? I'm worried about: the gaskets, I see no wiring harnesses in these diagrams, and are there any special structural support elements I am ignoring? IF you can get me the associated parts #'s for these parts, I would be VERY grateful. These JDM part #s are harder to find than hen's teeth!
Picture #1 (b_49_20)

#7, roof panel
Picture #2 (b_38_10)

#5 , Gasket? I cannot tell if this is on my sunroof or not.
#10, Gasket? I cannot tell if this is on my sunroof or not.
#11, Gasket? I cannot tell if this is on my sunroof or not.
Picture #3 (b_52_20)

#1, Gasket? I cannot tell if this is on my sunroof or not.
#3, Gasket? I cannot tell if this is on my sunroof or not.
#4, Gasket? I cannot tell if this is on my sunroof or not.
#5, ? no idea what this is
Picture #4 (b_38_20)

I think I have all of this.
Picture #5 (b_38)

#2 is the headliner, but it is quite expensive. I am planning to float it per Stark's suggestion.
Can I get some feedback? I'm worried about: the gaskets, I see no wiring harnesses in these diagrams, and are there any special structural support elements I am ignoring? IF you can get me the associated parts #'s for these parts, I would be VERY grateful. These JDM part #s are harder to find than hen's teeth!
Last edited by Gaujo; Apr 25, 2012 at 11:42 AM.
I think you aren't going to be completely sure what else you'll need until you get the skyroof unpacked in front of you. I'll try to help out a little more here.
Picture #2:
The part #5 has a #7 under it, perhaps signifying that this part is on either side left/right (#5/#7) of the assembly. That said, I think #5/7 may either be a mounting bracket or a component of the skyroof's sunshade track assembly. #11 may simply be a soft cushion for the sunshade to stop against when in the closed position. #10 appears to be an aesthetic piece as seen in Rooivalk's photo as the light grey trim piece joining the skyroof assembly with the headliner. Looks like you have #10. #5, #7, #11 you'll likely have to wait to see.
Picture #3:
I think you might need everything but the glass here. It looks to me that the glass, with the help of all of these gaskets pictured in #3, is simply mounted straight to the #7 roof panel of picture #1. If you'd like to picture this from the top down, you're looking at Picture #3 being the top, sitting on the roof panel in picture #1. You have your skyroof with just picture #1 and #3. Additionally, Picture #2, #4, #5 are the sunshade assembly.
What you've purchased, from the photos in your original post, is a pane of glass with the sunshade assembly. You'll have to pick up a roof panel to mount the glass to with the additional gaskets (unless the gaskets are included with the pane of glass because it's difficult to tell from the picture whether the glass is bare or includes gaskets) to hold the glass in place on the panel. As for the sunshade assembly, it looks like it's all there and you won't really know for sure until it is unpacked.
Also, I think I've figured out your structural support. Take a look at the black part of the sunshade assembly in this photo. You'll notice a raised "crossmember" (if you will) similar to "crossmembers" used in other Webasto sunroofs like TKZ12NO1's Panoramic Sunroof. So in addition to serving a purpose as the sunshade assembly, looks like that huge hunk of metal has a built in support beam "crossmember."
As for the wiring harness... I would assume a Webasto dealer could figure something out if it's not included with what you already bought. You're just looking to move the sunshade back and forth, not venting the roof or making use of any of the other fancy features offered with Webasto's programmed sunroof switches.
Picture #2:
The part #5 has a #7 under it, perhaps signifying that this part is on either side left/right (#5/#7) of the assembly. That said, I think #5/7 may either be a mounting bracket or a component of the skyroof's sunshade track assembly. #11 may simply be a soft cushion for the sunshade to stop against when in the closed position. #10 appears to be an aesthetic piece as seen in Rooivalk's photo as the light grey trim piece joining the skyroof assembly with the headliner. Looks like you have #10. #5, #7, #11 you'll likely have to wait to see.
Picture #3:
I think you might need everything but the glass here. It looks to me that the glass, with the help of all of these gaskets pictured in #3, is simply mounted straight to the #7 roof panel of picture #1. If you'd like to picture this from the top down, you're looking at Picture #3 being the top, sitting on the roof panel in picture #1. You have your skyroof with just picture #1 and #3. Additionally, Picture #2, #4, #5 are the sunshade assembly.
What you've purchased, from the photos in your original post, is a pane of glass with the sunshade assembly. You'll have to pick up a roof panel to mount the glass to with the additional gaskets (unless the gaskets are included with the pane of glass because it's difficult to tell from the picture whether the glass is bare or includes gaskets) to hold the glass in place on the panel. As for the sunshade assembly, it looks like it's all there and you won't really know for sure until it is unpacked.
Also, I think I've figured out your structural support. Take a look at the black part of the sunshade assembly in this photo. You'll notice a raised "crossmember" (if you will) similar to "crossmembers" used in other Webasto sunroofs like TKZ12NO1's Panoramic Sunroof. So in addition to serving a purpose as the sunshade assembly, looks like that huge hunk of metal has a built in support beam "crossmember."
As for the wiring harness... I would assume a Webasto dealer could figure something out if it's not included with what you already bought. You're just looking to move the sunshade back and forth, not venting the roof or making use of any of the other fancy features offered with Webasto's programmed sunroof switches.
Last edited by Starks; Apr 25, 2012 at 08:17 PM.
I think you aren't going to be completely sure what else you'll need until you get the skyroof unpacked in front of you. I'll try to help out a little more here.
Picture #2:
The part #5 has a #7 under it, perhaps signifying that this part is on either side left/right (#5/#7) of the assembly. That said, I think #5/7 may either be a mounting bracket or a component of the skyroof's sunshade track assembly. #11 may simply be a soft cushion for the sunshade to stop against when in the closed position. #10 appears to be an aesthetic piece as seen in Rooivalk's photo as the light grey trim piece joining the skyroof assembly with the headliner. Looks like you have #10. #5, #7, #11 you'll likely have to wait to see.
Picture #3:
I think you might need everything but the glass here. It looks to me that the glass, with the help of all of these gaskets pictured in #3, is simply mounted straight to the #7 roof panel of picture #1. If you'd like to picture this from the top down, you're looking at Picture #3 being the top, sitting on the roof panel in picture #1. You have your skyroof with just picture #1 and #3. Additionally, Picture #2, #4, #5 are the sunshade assembly.
What you've purchased, from the photos in your original post, is a pane of glass with the sunshade assembly. You'll have to pick up a roof panel to mount the glass to with the additional gaskets (unless the gaskets are included with the pane of glass because it's difficult to tell from the picture whether the glass is bare or includes gaskets) to hold the glass in place on the panel. As for the sunshade assembly, it looks like it's all there and you won't really know for sure until it is unpacked.
Also, I think I've figured out your structural support. Take a look at the black part of the sunshade assembly in this photo. You'll notice a raised "crossmember" (if you will) similar to "crossmembers" used in other Webasto sunroofs like TKZ12NO1's Panoramic Sunroof. So in addition to serving a purpose as the sunshade assembly, looks like that huge hunk of metal has a built in support beam "crossmember."
As for the wiring harness... I would assume a Webasto dealer could figure something out if it's not included with what you already bought. You're just looking to move the sunshade back and forth, not venting the roof or making use of any of the other fancy features offered with Webasto's programmed sunroof switches.
Picture #2:
The part #5 has a #7 under it, perhaps signifying that this part is on either side left/right (#5/#7) of the assembly. That said, I think #5/7 may either be a mounting bracket or a component of the skyroof's sunshade track assembly. #11 may simply be a soft cushion for the sunshade to stop against when in the closed position. #10 appears to be an aesthetic piece as seen in Rooivalk's photo as the light grey trim piece joining the skyroof assembly with the headliner. Looks like you have #10. #5, #7, #11 you'll likely have to wait to see.
Picture #3:
I think you might need everything but the glass here. It looks to me that the glass, with the help of all of these gaskets pictured in #3, is simply mounted straight to the #7 roof panel of picture #1. If you'd like to picture this from the top down, you're looking at Picture #3 being the top, sitting on the roof panel in picture #1. You have your skyroof with just picture #1 and #3. Additionally, Picture #2, #4, #5 are the sunshade assembly.
What you've purchased, from the photos in your original post, is a pane of glass with the sunshade assembly. You'll have to pick up a roof panel to mount the glass to with the additional gaskets (unless the gaskets are included with the pane of glass because it's difficult to tell from the picture whether the glass is bare or includes gaskets) to hold the glass in place on the panel. As for the sunshade assembly, it looks like it's all there and you won't really know for sure until it is unpacked.
Also, I think I've figured out your structural support. Take a look at the black part of the sunshade assembly in this photo. You'll notice a raised "crossmember" (if you will) similar to "crossmembers" used in other Webasto sunroofs like TKZ12NO1's Panoramic Sunroof. So in addition to serving a purpose as the sunshade assembly, looks like that huge hunk of metal has a built in support beam "crossmember."
As for the wiring harness... I would assume a Webasto dealer could figure something out if it's not included with what you already bought. You're just looking to move the sunshade back and forth, not venting the roof or making use of any of the other fancy features offered with Webasto's programmed sunroof switches.
And as for the switch, it's the same as the Honda civic sunroof switch, which I just sourced off ebay yesterday.
On that note, I have a 2 part Accord maplight assembly with homelink and sunglasses holder I was going to install that will not be of use any more. I'll sell it for $45 shipped lower 48.
Last edited by Gaujo; Apr 25, 2012 at 08:54 PM.
That was very helpful. What I'm still worried about, is that that nice thick rubber gasket that is on the headliner in Roo's pic, is part of the headliner, but it sounds like you think that part is #10. That sounds likely I suppose, either way, even fabricating a rubber gasket would be better than buying the whole $600 liner...
An example of a headliner board for OEM sunroof: image
Example of sunroof trim: image
Good luck my friend. 
At least you have that support frame section from Picture2 and the glass, so you'll have a good run at making it happen one way or another with American invention, determination, and hopes and dreams.
I have every expectation that you WILL make this work, if only so you can tell your wife that it wasn't a complete waste of money, and stand victorious before your creation as you say it.

At least you have that support frame section from Picture2 and the glass, so you'll have a good run at making it happen one way or another with American invention, determination, and hopes and dreams.
I have every expectation that you WILL make this work, if only so you can tell your wife that it wasn't a complete waste of money, and stand victorious before your creation as you say it.








