Is there a Heated Mirror mod available for our Fit?
Is there a Heated Mirror mod available for our Fit?
I live in Canada and the winters here lick ballz... I had heated mirrors in my 00 Civic Si-R, and I don't on the Fit.. I want them pretty bad.. anyone know if there is a kit or mod that can be done to have this feature?
I tried using my Visa card to scrap my mirror when it was -35 this past winter and it snapped in half... no cool. lol...
I might be interested too. My MINI had heated mirrors, and now that I don't have them, the problem I get is fogged up mirrors, not ice. I leave the garage, and by the time I hit the freeway the mirrors fog up. The heated mirrors don't fog up. I don't want to roll the windows down and wipe the mirrors off at 70 MPH when it's damp, or cold out, and heated mirrors would solve it.
That would be awesome if you could! thanks!
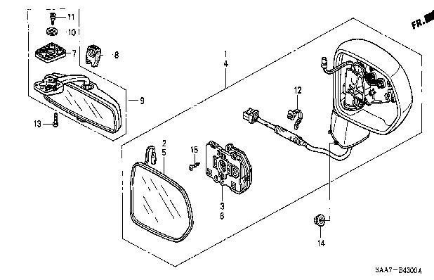
Here's the pic from the epc

Not sure what bits you need so I'll give you the exact description given for stuff!
1. 76200-SAA-E41ZG Mirror assembly r/h heated storm silver
2. 76203-SAA-E41 Mirror sub assembly r/h heated
3. 76210-SAA-J11 Actuator sub assembly r/h
4. 76250-SAA-E41ZG Mirror assembly l/h heated storm silver
5. 76253-SAA-G41 Mirror sub assembly l/h heated
6. 76260-SAA-J11 Actuator sub assembly l/h
12. 91540-SV4-003 Clip
14. 94071-06080 Nut-washer 6mm
15. 90145-SCK-J01 Screw tapping 4x18
The switch assembly with the mirror control is 35190-SAA-G01ZA
If ya need anymore let me know!!

Not sure what bits you need so I'll give you the exact description given for stuff!
1. 76200-SAA-E41ZG Mirror assembly r/h heated storm silver
2. 76203-SAA-E41 Mirror sub assembly r/h heated
3. 76210-SAA-J11 Actuator sub assembly r/h
4. 76250-SAA-E41ZG Mirror assembly l/h heated storm silver
5. 76253-SAA-G41 Mirror sub assembly l/h heated
6. 76260-SAA-J11 Actuator sub assembly l/h
12. 91540-SV4-003 Clip
14. 94071-06080 Nut-washer 6mm
15. 90145-SCK-J01 Screw tapping 4x18
The switch assembly with the mirror control is 35190-SAA-G01ZA
If ya need anymore let me know!!
Thread
Thread Starter
Forum
Replies
Last Post
NewFitGuy09
2nd Gen GE8 Specific Fit Exterior Modifications & JDM Styling Sub-Forum
18
Oct 1, 2012 08:01 PM





